| Sign In | Join Free | My wneducation.com |
|
Brand Name : POWERFLOW
Model Number : 2800+1600
Certification : ISO9001. CE. Nepsi.
Place of Origin : CHINA
MOQ : 1 Nos
Price : Quotation Offered by Email.
Payment Terms : T/T
Supply Ability : 50Nos/Week for every single Customer.
Delivery Time : 10-15 Days
Valve Body Material : AISI 316L/316
Actuator Material : Plastic
Seal Material : PTFE/EPDM
Working Pressure : 10Bar
Standard : DIN, SMS, ISO, IDF,RJT, 3A, etc
Certificate : CE
1. 2800 Product Features
2. 2800 Technical Datas
| Valve Body Material | Stainless steel 316(CF8M)/316L(CF3M) |
| Seal Material | EPDM/PTFE |
| Working Pressure | 10Bar |
| Working Temperature | -20-180 degree centigrade (PTFE) -20-150 degree centigrade (EPDM) |
| Availably size | DN15-DN80 |
| Availably connection | Thread, Weld, Clamp, Flange |
| Air Supply | 4-8bar(Single-Acting) 2.5-8bar(Double-Acting) |
| Standard | DIN,SMS,ISO,IDF,RJT,3A,etc |
| Certificate | CE |
3. 1600 Series Positioner Electrical connections and pneumatic connections

| X1 | ||
|---|---|---|
| Pin | Description | Signal type |
| 1 | Analogue signal output + | 0/4 – 20 mA or 0 – 5/10 V |
| 2 | Binary signal output 1 | 0/24 V |
| 3 | Binary signal output 2 | 0/24 V |
| 4 | Binary signal input + | 0-3V =“0”, 15-30V =“1” |
| 5 | Signal common GND | GND |
| X2(Optional for process control only) | ||
|---|---|---|
| Pin | Description | Signal type |
| 1 | Transmitter input + | +24 V |
| 2 | Transmitter signal output | 4 - 20mA |
| 3 | Transmitter GND | GND |
| X3 | ||
|---|---|---|
| Pin | Description | Signal type |
| 1 | Power supply + | +24 V |
| 2 | Power supply GND | GND |
| 3 | Set signal input + | 0/4 – 20 mA or 0 – 5/10 V |
| 4 | Set signal input GND | GND |
| P | Air supply enter (built-in filter, filter size 5 μm) |
| R | Air exhaust |
| C | Check valve |
| A1 | Pilot air outlet 1 |
| A2 | Pilot air outlet 2 |
4. 1600 Series Positioner Additional Functions
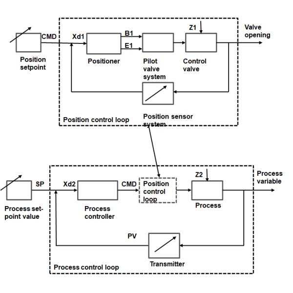
5. 1600 Series Positioner Signal Flow Diagram

6. 2800 Sereis Type Selection

* Default actuator type is Single acting and normally close, Please remark if you need other type of actuators
|
|
SMS Standard SS316 CF8M Pneumatic Diaphragm Control Valve Images |